中文版english

Gate Valve

Contacts

Contacts

Contactor: Henry

Tel: +86-562-6865437

Fax: +86-562-6865908

Mail: sind02@sindfm.com

Add: North Tongdu Road No.720,Tongling City,Anhui Province,China

Position:Home > Products > Gate Valve > Metal Seated Gate Valve

BS5163 Flanged Industrial Gate Valve

Time:2020-12-18 14:03:41 Hits:

BS5163 Flanged Industrial Gate Valve

BS5163 Non-rising Metal Seated Industrial Gate Valve


Specifications:
1. Body:             GGG40/50
2. Disc:              GGG40/50
3. Seat:              Brass/Bronze
4. Stem:             2cr13
5. Bonnet:          GGG40/50
6. Hand wheel:  GGG40/50


Application:
1.Face to face is according to BS5163,BS5150

2.Flange drilled is according to BS table E or D/BS4504/EN1092 

 

Working Range:

1.Potable water /drinking water

2.Water/wastewater treatment

 

Function:

Fully open and close and it is opened for long time usually ,then some day,we need close it to maintain pipe or check status ,this moment we need this still work and open it easily like before .Poor quality one might be dead to not working or it is weak to destroy when to open, good one will overcome these problems aboved.It is often amounted under the ground,and work with other types of valves like butterfly valve,Non-return valve and stainers.


Test:
Working pressure:     PN10      /     PN16
Shell pressure:          1.5MPa  /      2.4MPa
Seat pressure:           1.1MPa /       1.76MPa


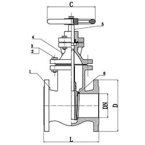
Dimensions:

DN 2" 2.5" 3" 4" 5" 6" 8" 10" 12"
L 178mm 190mm 203mm 229mm 254mm 267mm 292mm 330mm 356mm
H 279mm 325mm 350mm 380mm 415mm 435mm 506mm 702mm 750mm
D(PN10) 165mm 185mm 200mm 220mm 250mm 285mm 340mm 395mm 445mm
D(PN16) 165mm 185mm 200mm 220mm 250mm
285mm 340mm 405mm 460mm
C 152mm 178mm 178mm 203mm 245mm 254mm 305mm 356mm 405mm

We also offer big size from 2" to 48" for the valve.

If you have specified requirements or any questions,welcome to ask for us. 

Email: sind02@sindfm.com